比例/伺服/高頻響應閥
FEE二通比例節流閥特征:
-先導式二通比例節流閥
-安裝面按DIN ISO 7368-BA-06-2-A
-節流閥芯是電氣位置閉環控制的
-油流方向A至B
-如果電源故障,例如電纜斷(或者如果啟動撤銷1)),節流閥芯自動移動到它的關閉位置,阻斷A至B的流量
-能夠與壓力補償器一起使用,用于帶壓力補償的流量控尸
-型號FE也帶有外部放大器(單獨訂貨)
-型號FEE:和集成電控裝置**匹配,能夠選擇提供電壓或電流接口。
1)僅型號FEE

閥型號FE(E)是先導控制的二通比例節流閥(插裝閥),用于閉環控制流量的無級調節。
技術設計
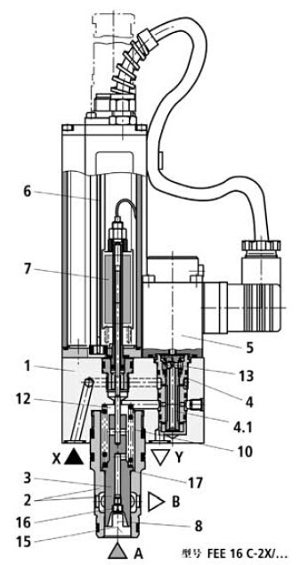
閥由4個主要部分組成:
-帶連接面的蓋板(1),用于控制油的連接
-主閥(2)帶有節流閥芯(3)
-先導閥(4)帶有比例電磁鐵(5)
-集成電控裝置(6)(型號FE沒有)帶位置傳感器(7)
功能說明
一般功能:
-指令值和節流閥芯(3)的閉環位置控制相關,因此確定了節流口(8)的開啟量。
-通過節流口的流量取決于節流口(8)上的壓降(Δp)和節流閥芯(3)的位置。
-通過位置傳感器(7)獲得節流閥芯(3)位置的實際值,指令值和實際值在電控裝置(6)內進行比較,偏差值處理后作為調整變量送給比例電磁鐵(5),并且由先導閥(4)糾正節流閥芯(3)的位置。
-面積(15)和面積(2)的面積關系=1:1.
-油流方向A→B,X連接至A,或者外部連接。
-一般功能:對于外部控制供油,為了使閥的功能正確,X口壓力必須≥A口的壓力
-控制油旁通通過節流口(16),加大了振蕩阻尼
-當啟用撤銷時,節流閥芯(3)在閥套內移動直至到達端部止檔(17)(關閉位置),所以阻斷了A→B的流量。
-節流閥芯位置由0V或4mA指令值進行閉環控制,但是節流口(8)仍然處于A→B的正遮蓋位置
-在0V或4mA指令值以及啟用不激活的情況下,泄漏油通過節流閥芯(3)和先導控制閥(4)。

| 優選部件號 | 型號 |
| R900954413 | FEE16C-2X/190LK0B1M |

機床、木工機械、激光切割等